电动汽车直流充电桩EMF试验方法研究
直流充电桩工作过程中会产生高达300A 的大电流从而形成高强度电磁波导致电磁污染。人体靠近充电桩为电动汽车充电或等待充电的过程中,电磁波会作用于人体,可以被反射、吸收和穿透。研究表明:人体能够吸收频率为低于1GHz时电磁波40%~50%的能量;而能量吸收在电磁波频率高于1GHz时会急剧增大[1]。高能量电磁波会在人体皮肤表面产生热效应且易产生灼伤,直至对人体内部器官功能形成较大伤害。因此,开展直流充电桩EMF 试验方法研究,评估充电桩EMF 水平,预防人体受到电磁伤害意义重大。
1、直流充电桩充电原理分析
直流充电桩是与交流(AC 380V)电网相连为非车载蓄电池或电池包进行充电的供电装置。直流充电桩使用输入电压为AC380V,频率为50Hz 的三相四线电源,因此,可以为电动汽车充电设备提供较大的功率输出,电压和电流的可调范围较广,能够达到快速充电的目的。
直流充电桩基本构成包括:功率单元、控制单元、计量单元、充电接口、供电接口和人机交互界面[2]等。功率单元是指整个直流充电系统,控制单元是指充电桩控制器。直流充电桩的电气部分由主回路和二次回路组成。主回路的输入是三相交流电AC380V,经输入断路器、交流智能电能表之后由充电系统中的整流模块将三相交流电转换为电池可以接受的直流电,再连接熔断器和充电枪,给电动汽车充电。二次回路由充电桩控制器、读卡器、显示屏、直流电表等组成。二次回路还提供“启停”控制与“急停”操作;信号灯提供“待机”、“充电”与“充满”状态指示;显示屏作为人机交互设备则提供刷卡、充电方式设置与启停控制操作。直流充电桩电气系统基本原理图如图1 所示。

图1 直流充电桩电气系统基本原理框图
2、直流充电桩EMF产生机制和电磁生物效应分析
直流充电桩EMF(低频电磁场)产生来源主要为射频辐射发射。射频辐射发射以空间辐射的方式造成周围空间的电磁污染。直流充电桩大功率开关管频繁通断的同时,产生的瞬态高峰脉冲电压在引起电源线电流突变[3]的同时,也会导致充电桩电路板的电流瞬态激变,从而会产生大量高频干扰信号。高频干扰信号通过电路板中等效的偶极子天线向周围空间发射电磁波,从而形成了电磁辐射。
直流充电桩充电时,由开关管不断通断而产生的高能量电磁辐射频段主要集中在5kHz~50kHz。该频段电磁场也被称为低频电磁场(EMF),其对人体的影响有两类机理:一类为热效应,产生的原因是人体组织器官由于吸收了电磁能量使其温度升高[4],从而引起生理和病理变化的作用;另一类为非热效应,产生的原因是EMF 在人体内感应的电流对神经细胞和组织细胞的刺激,从而改变生理生化过程的效应。与高频电磁场不同处在于EMF 对人体作用不会产生明显的热效应,而主要是非热效应。
3、直流充电桩EMF 试验方法研究
EN62233:2008 中描述,EMF 测量主要包括电场测量和磁场测量,由于电场测量极易受到外界干扰测量方法尚在研究中,因此只进行磁场测量。
3.1 直流充电桩EMF试验原理
EN62233:2008 给出了3 种测量方法,即时域评估法、线状谱评估法和简化测试法[5]。其中,线状谱评估法适用于50Hz基频与其谐波;简化测试法适用于频率范围2kHz以下的被测器具。直流充电桩是由多频率器件组成的装置,基本频率为50Hz,因此,采用时域评估法。
直流充电桩为电动汽车充电时产生多频率的场,因此需要考虑传递函数A(f)。

(1)
其中,BRL(fc0)是指频率50Hz下对应的磁感应强度,单位:μT;BRL(f)是指频率f下对应的磁感应强度,单位:μT。转移函数A(f)是通过一阶滤波器建立的模型。
时域评估法采用的磁场探头是由3 个互相垂直且面积各为100cm2±5cm2 的正交线圈组成。磁场探头在X、Y、Z三个方向测量过程为:经探头分别测量信号得的分量→经传递函数进行分量加权→将加权信号平方→将信号平方求和→将和取平均值→将平均值取平方根得到Br.m.s。充电设备EMF 测量原理框图如图2 所示。

图2 充电设备EMF 测量原理框图
EMF 测量值Br.m.s 与50Hz 时磁感应强度的参考值BRL进行比值计算,加权结果Wn 如公式(2)所示:

(2)
其中,Wn 为单次测量的加权结果;Br.m.s 为测量的磁感应强度有效值;BRL为在频率50Hz处磁感应强度的参考值。
3.2 直流充电桩EMF测量位置
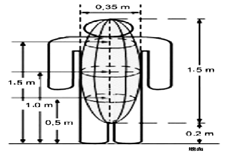
IEC62110:2009 指出,测量点位置的选取应该考虑使测量结果具有代表性。充电设备测量位置取人员经常操作位置,如有必要,可对其四周成正交方位进行测量。对于高度(H)高于1.5m 的充电设备,分别在离地面0.5m、1m 和1.5m 的高度进行测量,即相当于如图3 所示以标准人体下肢、腹部和胸部的高度进行测量;对于高度(H)低于1.5m的充电设备,分别在离地面H/3、2H/3和H 的高度进行测量。测量点与充电设备表面的水平距离(r)为0.2m[6]。充电设备EMF 测量示意图如图4 所示。

图3 人体类球状模型

图4 充电设备EMF 测量示意图
3.3 直流充电桩EMF测试方法及限值要求
现阶段,国内尚未制定相应的直流充电桩低频电磁场(EMF)测试标准,因此,本文根据欧盟标准《IEC62110:2009交流电系统产生的电场和磁场 有关公众照射量的测量程序》和《EN 62233:2008 对人体暴露于家用及类似用途电器电磁场的测量方法》来评估直流充电桩EMF 对人体的辐射水平。
为了更好地论述EMF 测试距离与EMF 磁场强度的关系,模拟人在使用直流充电桩为电动汽车充电时,身体离直流充电桩表面不同距离时受到充电桩EMF 辐射强度的情况,本文进行直流充电桩EMF 测试距离如下所述:在直流充电桩四周距离其表面分别在0cm、10cm、20cm、30cm处进行测量,这种测试距离与EN62233:2008 中规定的测试距离相比,距离更加严酷,对直流充电桩EMF 测试要求更严格。
测量过程中,将直流充电桩控制面板为正方向,记为方向A,控制面板左侧为方向B,控制面板右侧为方向C,控制面板对面为方向D。EN62233:2008 规定,采用时域评估法时,测试加权值Wn不得超过1。
4、试验结果分析
本论文以额定功率为30kW 的某品牌直流充电桩为例来分析在不同距离下EMF 的强度加权值Wn。具体内容如表1所示。

表1 不同距离下 EMF 的强度加权值
依据《IEC62110:2009 交流电系统产生的电场和磁场 有关公众照射量的测量程序》和《EN 62233:2008 对人体暴露于家用及类似用途电器电磁场的测量方法》,由表1 可知,按照上述标准,在距离充电桩表面20cm 的距离下测得四个方位的EMF 均小于1,符合标准限值要求。通过测量数据可以发现,人体距离直流充电桩越远,EMF 辐射强度越弱,因此,在使用直流充电桩为电动汽车充电时,与充电桩保持一定的距离,可以有效降低充电桩对人体的EMF 辐射强度。
5、结语
本文主要对直流充电桩充电原理、直流充电桩EMF 产生机制和电磁生物效应、直流充电桩EMF 试验方法进行了阐述、分析和研究,同时,结合我院试验能力对额定功率为30kW 的某品牌直流充电桩进行了试验,对试验结果进行了分析和判定,有助于相关的企业、机构、院校进行充电桩EMF试验,具有一定的参考价值。